1-6mm齿轮跳动检查仪
简介:齿轮跳动检查仪是对具有孔的圆柱和圆锥的径向跳动也端面挑定进行测定。我厂1-6模数跳动仪常年生产,精度,质量同行业一!
齿轮跳动检查仪用于检查6级或6级以下精度圆柱,圆锥外齿和齿轮及蜗轮蜗杆的径向跳动或端面跳动。
齿轮跳动检查仪工作原理:齿圈径向跳动△Fr,在齿轮一转范围内,测头在槽齿轮上,与齿中部双面接触,测头相对于齿轮轴线的变动量。为此,齿圈径向跳动的检查是借具有原始齿条形的测量头进行。检查时将装在芯轴上的被检查齿轮,固定在仪器两顶针间内,并用指示表示出测量头位置对齿轮转动轴线的跳动量。
1-6mm齿轮跳动检查仪参数:被测工件大直径是150mm;测量长度300mm;两顶针间大距离是190mm,测量支架转动范围正负90度,指针分度值是0.001mm;单台净重150kg左右。
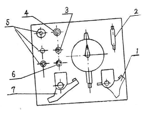
1-6模数齿轮跳动仪配套附件如下:

1.直角杠杆:供测端面跳动。2.扳手:供装拆侧头。3.球形测量头:供直角和水平杠杆用。4.接头:供接长圆锥测量头。5.圆锥测量头:供测200压力家,模数1
我厂1-6模数齿轮跳动仪实物图:

相关资讯
电话:0317-8332456
传真:0317-8333626
邮箱:xihailiangju@sina.com
地址:河北省泊头市交河开发区
新浪微博
腾讯微博








